首页 培训课程 CFP

CFP一次过五科!看学霸如何乘风破浪,稳稳拿下CFP!

发布时间:2020-09-15阅读数:5783

  8月中旬的CFP成绩已揭晓,众所周知,CFP证书作为理财师的顶级证书,需要通过五个科目才可以拿到证书。

  一般大部分学员会将五个科目分为2-3次进行备考,而本次考试班级内有这么一位学员,凭借专业的知识功底和超强的学习能力,一次挑战CFP五科联考并顺利通过!

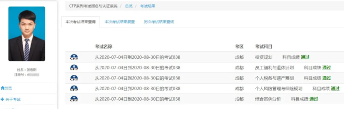
  他,就是中国银行客户经理 ——张春阳。


  ——考试通过截图——



  在班级学员的热切呼声中,张春阳同学也非常慷慨的针对自己的CFP考试备考经验与方法做了详细的分享,希望能够给正在备考路上的同学一点参考。分享原文如下:


  各位同学晚上好!我是来自中国银行的张春阳,首先我非常幸运能有这样的机会在这里与各个金融机构的精英们分享自己备考CFP的经验与方法。这次通过五科CFP考试,首先还是要感谢咱们的学校-金拐棍教育各位老师们的辅导与督促,在学习过程中给予了我很大的帮助。

  然后关于这次备考其实我在年前就学习过保险和福利的面授课了,孙晓林老师授课风格异常风趣幽默,总能用简单的例子把一些复杂的知识点讲透彻,包括一直到七月份的税收面授,好多税率用孙老师总结的方法记忆,印象还是很深刻的。投资其实我跟大家一样,刚开始也是特别头疼,没上孙振强老师的面授课的时候,我自己看考点做题,感觉脑袋里一团浆糊乱糟糟的,做题做的头蒙。

直到考试前的一周我听了孙老师的投资面授课,好多疑团我都解开了,有种豁然开朗的感觉,并且从授课上就可以看出孙老师的金融知识储备是真的深不可测!然后我就差案例没有上过面授课了,我就又联系到学校,请林老师帮我把案例的各个考点重点做了一遍梳理,这里也非常感谢林老师。所以讲到这里总结第一条就是面授课程一定要认真听讲,多与授课老师沟通,课堂上错过的知识课下真的很难弥补过来。

老师们的辅导非常重要,但是更重要的还是自己的努力有多少。今年确实是个比较特殊的年份,本来我是想年后先考保险和福利的,完了因为疫情一下子拖到八月份报考,从过了年一直到六月,我都处于想学的时候就学一阵,不想学就放松学习了,因为我当时觉得不确定什么时候能考试,准备的早了怕到考试的时候又忘了,所以搞得本来年前学的保险福利也有点忘记了,这是个错误的做法,我做的不好,在这里也请大家引以为戒在六月份报了名之后,我就开始制定了自己的学习计划,另外我的班主任王老师也一直督促着我,经常询问我的学习进度,事实证明不管多么自律的人也需要有人督促,因为一个人默默学习真的很枯燥无聊,王老师的督促让我自己懈怠的时候感觉不好意思面对王老师,所以就继续好好复习。我具体的学习计划是这样的看视频课期间每天规定任务量。

一天看完某一大章的知识点然后后面的习题掌握。等到视频看完的时候,就改成每天掌握一套题,就从做完一套题,到核对答案查看解析,再到错题登记算是完成当天任务。

我并没有刻意规定每天学习多长时间,因为我觉得这样太累,也偶尔会有点熬过这段时间就轻松了的小心思。当然了这个也看大家各自的习惯,每个人都有适合自己的学习方式。

最后关于考试呢,我还是建议大家不要学我五科一块考,虽然我这次侥幸通过了,但在考场上我也是异常的手忙脚乱,因为考试的前几天我一直把投资放在复习的重点,导致其他简单的科目福利税收案没有更多的时间复习,加上这次福利哥税收我感觉还挺难的,两科我都感觉时间不够用,所以有些题还是蒙的,只是比较庆幸蒙对了而已。

还有做题的时候,我就是看到比较复杂的题,就感觉得算个十分钟,算出来的结果选项还不一定有的,我就直接打个标记蒙了直接过,等全部做完有时间了我再算。最后感谢金拐棍教育给我这次和许多志同道合的朋友交流的机会,祝大家都顺利通过考试,早日取得CFP证书!

  张春阳

  2020年9月


  CFP中文译名为国际金融理财师,在全球金融理财行声誉俱佳。截至到2019年年底CFP全球增长前五的成员是:美国3272人、中国大陆2001人、巴西673人、日本623人、印度402人。

  从全球持证人增长情况来看,中国大陆增长最快,这也是世界经济格局的映照。AFP证书基本已经普及,凸显竞争力必须是CFP证书!

  更多AFP CFP备考信息,欢迎点击右侧在线咨询,随时一对一沟通。


免费领取学习资料